Quick question for libertarians

[From Rick Marken (2011.07.20.1130)]

Shannon Williams (2011.07.20.1230 CST)–

Rick Marken (2011.07.18.1750)]

RM: The aggregate producer produces goods (including capital equipment)

and services and the cost of this production (which we call GNP) is the

payment that the aggregate producer pays “itself” (as the aggregate

consumer) in the form of wages and profits. The aggregate consumer returns

these wages and profits to “itself” (as the aggregate producer) in the form

SW: Ok. This model helps you see quit clearly that the money needs to

flow from producer to consumer and back again…

How do you represent the flow of money without an associated flow of

goods and services such as what occurs in a no-interest loan. …

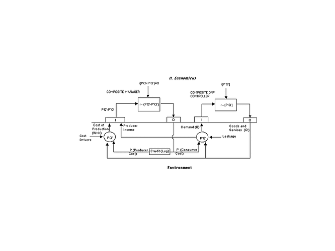
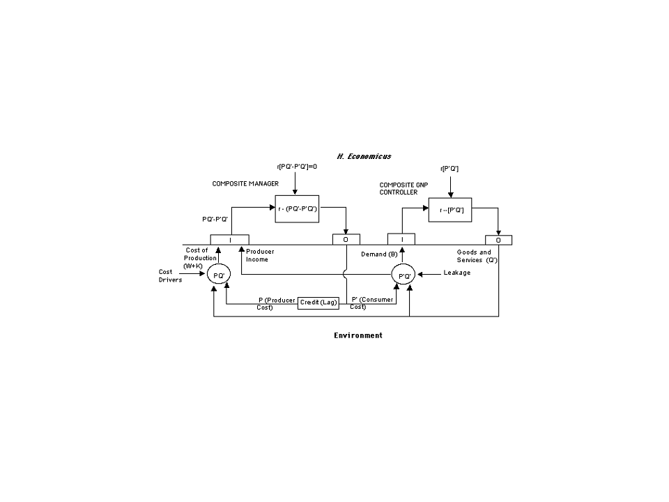
My model is more completely described in the H. Economicus paper ( http://www.mindreadings.com/HMod.pdf ). Here’s a flow diagram:

The composite (or aggregate) manager does what you are talking about; it puts money into the flow (note the output going into the “Credit” function) as necessary in order to keep what is paid out by the composite controller to produce the wanted goods/services equal to that it pays back to itself as consumption. The composite manage controls just the money flowing in the circular flow; so I probably should have called it the “composite banker” or “composite accountant”.

This model was implemented as a working control model. Note that there are two main independent variables (disturbances) in this model of the economy; one is called “cost drivers” and these are just aspects of the environment, such as scarcity or natural phenomena like droughts, that influences how much output has to be generated in order to produce all the stuff wanted/needed by the composite controller. The other disturbance is leakage, which is what we’ve been talking about; money coming out of the circular flow. One disturbance is natural and unavoidable; the other is human made and easily eliminated by never, ever voting for a Republican;-)

Best

Rick

···


Richard S. Marken PhD
rsmarken@gmail.com
www.mindreadings.com

[From RIck Marken (2011.07.20.1140)]

Rick Marken (2011.07.20.1130)]

My model is more completely described in the H. Economicus paper ( http://www.mindreadings.com/HMod.pdf ). Here’s a flow diagram:

Apparently the graphic didn’t come through so I’ll try it as an attachment.

Best

Rick

···


Richard S. Marken PhD
rsmarken@gmail.com

www.mindreadings.com

[Shannon Williams (2011.07.20.1400 CST)]

[From Rick Marken (2011.07.20.1130)]
The composite (or aggregate) manager does what you are talking about; it puts money into the flow (note the output going into the “Credit” function) as necessary in order to keep what is paid out by the composite controller to produce the wanted goods/services equal to that it pays back to itself as consumption.

But my point is that what is paid out to produce goods and services IS NOT EQUAL to what is paid in. Money goes into the consumer and does not come out until he ‘buys’ a good or service’. Now, if I loan you money to buy a hamburger today then you will not have a hamburger on Tuesday when you pay me back. When you start loaning money, the money is dis-associated from the flow of goods and services. It looks like spending is occurring because the lack of spending is delayed until the payback occurs.

Thanks,

Shannon

https://donate.barackobama.com/page/outreach/view/2012/openthespillways

[From Rick Marken (2011.07.20.1230)]

Shannon Williams (2011.07.20.1400 CST)–

RM: The composite (or aggregate) manager does what you are talking about; it puts money into the flow (note the output going into the “Credit” function) as necessary in order to keep what is paid out by the composite controller to produce the wanted goods/services equal to that it pays back to itself as consumption.

SW: But my point is that what is paid out to produce goods and services IS NOT EQUAL to what is paid in. Money goes into the consumer and does not come out until he ‘buys’ a good or service’. Now, if I loan you money to buy a hamburger today then you will not have a hamburger on Tuesday when you pay me back. When you start loaning money, the money is dis-associated from the flow of goods and services. It looks like spending is occurring because the lack of spending is delayed until the payback occurs.

The way I deal with this is by assuming that there are many loans happening at the same time and at any instant all are in different “states”, some being initiated, some being used (and payed back partially) and some being paid off. Also, since we are dealing with processes that occur in a loop there is no real sequential delay between loan and spend: spending is occurring while the loan (and payback) is occurring. There is probably a transport lag in the loop and that is picked up in the model by the credit “lag” parameter. So I agree that, at the individual level, there is a lag between loan and payback but at the aggregate level loans and paybacks are occurring at essentially the same time.

Best

Rick

···


Richard S. Marken PhD
rsmarken@gmail.com
www.mindreadings.com

[Shannon Williams (2011.07.20.1230)]

[From Rick Marken (2011.07.20.1230)]

The way I deal with this is by assuming that there are many loans happening
at the same time and at any instant all are in different "states", some
being initiated, some being used (and payed back partially) and some being
paid off. Also, since we are dealing with processes that occur in a loop
there is no real sequential delay between loan and spend: spending is
occurring while the loan (and payback) is occurring. There is probably a
transport lag in the loop and that is picked up in the model by the credit
"lag" parameter. So I agree that, at the individual level, there is a lag
between loan and payback but at the aggregate level loans and paybacks are
occurring at essentially the same time.

Come on Rick, model it. Don't wave your hands and saythere must be a
transport lag. You have a model, adjust it. I am claiming that
payback of loans is equivalent to the money never having left the
loaner's savings account. When people put money in savings accounts,
they take it out of circulation. Does your model show that when
people put money into savings accounts then they take it out of
circulation? I cannot tell by looking at the model, but I can tell
when you write that you believe this.

Shannon
https://donate.barackobama.com/page/outreach/view/2012/openthespillways

[from Tracy B. Harms (2011-07-20 16:12 Eastern)]

I can’t imagine that aggregation would do away with this prominent aspect of lending-and-borrowing, the spread of time between the two ends of the transaction. If the model doesn’t actually reflect that, somehow, it seems to me it wouldn’t work.

···

On Wed, Jul 20, 2011 at 3:32 PM, Richard Marken rsmarken@gmail.com wrote:

[From Rick Marken (2011.07.20.1230)]

So I agree that, at the individual level, there is a lag between loan and payback but at the aggregate level loans and paybacks are occurring at essentially the same time.

[From Rick Marken (2011.07.20.1540)]

Shannon Williams (2011.07.20.1230)–

RM: The way I deal with this is by assuming that there are many loans happening

at the same time and at any instant all are in different “states”…

Come on Rick, model it. Don’t wave your hands and saythere must be a

transport lag.

I did. The transport lag made no difference in terms of the main variable I was measuring (actual over potential output, Q’/Q). When Q’/Q is less than 1.0, the economy is not producing what it is capable of producing. This will translate pretty directly into unemployment rate: as Q’/Q decreases, unemployment increases.

You have a model, adjust it. I am claiming that

payback of loans is equivalent to the money never having left the

loaner’s savings account. When people put money in savings accounts,

they take it out of circulation.

Does your model show that when

people put money into savings accounts then they take it out of

circulation? I cannot tell by looking at the model, but I can tell

when you write that you believe this.

No. the model does not directly include savings; it assumes that leakage is proportional to the current savings level. And I would not assume that when people put money into savings accounts they take it out of circulation. First of all, at any instant there are probably nearly as many people drawing down on savings as are putting money into savings. But the net savings level (savings-draw down) is greater than 0. But as Gavin pointed out, banks will loan out all the savings they can that is on deposit. But as I said, the banks must keep some reserves against the savings loaned out. So the greater the savings level (net of savings-draw down at any instant) the greater the reserve level. And money held in reserve is money taken out of the circular flow. This money is part of he “leakage” in the model (the other part is, as I said, probably bad loans and investments). So I take the leakage to be:

Leakage = (R * NS + D)/GDP

where R is the reserve rate, NS is net savings at any instant and D is losses from defaults and other bad investments.

Best

Rick

···

Shannon

https://donate.barackobama.com/page/outreach/view/2012/openthespillways


Richard S. Marken PhD
rsmarken@gmail.com
www.mindreadings.com

[From Rick Marken (2011.07.20.1600)]

Tracy B. Harms (2011-07-20 16:12 Eastern)–

TH: I can’t imagine that aggregation would do away with this prominent aspect of lending-and-borrowing, the spread of time between the two ends of the transaction. If the model doesn’t actually reflect that, somehow, it seems to me it wouldn’t work.

You are in good company. So far no one at all has had anything good to say about this model. Free marketers hate it because it implies that the economy is a zero sum game (which it is, though the sum is usually growing). Control theorists don’t like it because it’s not detailed enough. So I haven’t touched this thing in years. It’s pretty useless anyway, I think. Contrary to what Bill Powers thinks, I’m quite sure that have a perfect model of the economy (whatever that is) will make absolutely no impression on people. It might be fun to do scientific economics but it will have no more impact on policy than climate science has had on energy policy. At least in the US, economics is completely political. I say this because if it was even slightly scientific there would be no such thing as a “trickle down” economist anymore; someone who believes that cutting taxes helps the economy or that wealthy people are “job creators”. Yet I was at the gym today and had the misfortune of glimpsing the TV which had Arthur Laffer, of all people, talking smugly about how wrong it would be to raise taxes now. Of course, this was on Fox News and whoever was interviewing Laffer seemed to be taking him very seriously.

This brings be back to the original topic of positive feedback. I think the US is now in a positive feedback regime with respect to the economy; the “trickle down” policies that created the recession are now being touted as the policies we need to make things better. And since people are being bombarded with this idea from every direction is it entirely possible that the trickle downers will be placed back in power (thye were given partial power back in 2010) which will destroy the economy even more. But no problem, this will be blamed on liberals and more trickle downers will be elected and we’ll just keep shambling into third world status. I think we have been in this bad positive feedback regime since 1980 and that it will continue until there is either a violent revolution (which will just make things even worse) or some very charismatic rich guy who had polio as an adult comes along and manages to become president.

Best

Rick

···


Richard S. Marken PhD
rsmarken@gmail.com
www.mindreadings.com

(Gavin Ritz 2011.07.21.11.08NZT)

[From
Rick Marken (2011.07.20.1600)]

Tracy
B. Harms (2011-07-20 16:12 Eastern)–

TH: I can’t imagine that
aggregation would do away with this prominent aspect of lending-and-borrowing,
the spread of time between the two ends of the transaction. If
the model doesn’t actually reflect that, somehow, it seems to me it wouldn’t
work.

You are correct Tracy.

You are in good company.
So far no one at all has had anything good to say about this model. Free
marketers hate it because it implies that the economy is a zero sum game

It is and it isn’t, there is a
delicate balance between abundance (like an octopus spawning a billions eggs)
and scarcity (the few that get left after being eaten, dying etc). There is also
relationship between quality (with limits) and quality (variety) almost no
limits. With which our money system is intimately tied to.

As I have said before PCT at this stage of
its development looks like it cannot deal with these types of concepts. It’s
sort of outside the PCT model.

(which it is, though the
sum is usually growing). Control theorists don’t like it because it’s not
detailed enough. So I haven’t touched this thing in years. It’s pretty
useless anyway, I think. Contrary to what Bill Powers thinks, I’m
quite sure that have a perfect model of the economy (whatever that is) will
make absolutely no impression on people. It might be fun to do scientific
economics but it will have no more impact on policy than climate science has
had on energy policy. At least in the US, economics is completely political. I
say this because if it was even slightly scientific there would be no such
thing as a “trickle down” economist anymore; someone who believes
that cutting taxes helps the economy or that wealthy people are “job
creators”. Yet I was at the gym today and had the misfortune of glimpsing
the TV which had Arthur Laffer, of all people, talking smugly about how wrong
it would be to raise taxes now. Of course, this was on Fox News and whoever was
interviewing Laffer seemed to be taking him very seriously.

This brings be back to the original topic of positive feedback. I think the US
is now in a positive feedback regime with respect to the economy; the
“trickle down” policies that created the recession are now being
touted as the policies we need to make things better. And since people are
being bombarded with this idea from every direction is it entirely possible
that the trickle downers will be placed back in power (thye were given partial
power back in 2010) which will destroy the economy even more. But no problem,
this will be blamed on liberals and more trickle downers will be elected and
we’ll just keep shambling into third world status. I think we have been in this
bad positive feedback regime since 1980 and that it will continue until there
is either a violent revolution (which will just make things even worse) or some
very charismatic rich guy who had polio as an adult comes along and manages to
become president.

Looks like the weaving and the unweaving
is about to start all over again. Welcome to the social affair.

Regards

Gavin

···

[Shannon Williams (2011.07.20.1540)]

[From Rick Marken (2011.07.20.1540)]

No. the model does not directly include savings;

The Composite Controller outputs goods and services to the
environment and inputs demand. The Composite Manager outputs cost and
inputs 'cost of production' and income. Where is the circular flow of
money that you refer to?

Thanks,
Shannon
https://donate.barackobama.com/page/outreach/view/2012/openthespillways

[From Rick Marken (2011.07.20.2200)]

Shannon Williams (2011.07.20.1540)–

SW: The Composite Controller outputs goods and services to the

environment and inputs demand.

The Composite Controller inputs (consumes) the goods and services that it outputs (produces). It consumes (inputs) these goods and services by purchasing them (that’s the demand) using the wages and profits it was paid for producing them.

The Composite Manager outputs cost and

inputs ‘cost of production’ and income. Where is the circular flow of

money that you refer to?

There are two circular flows, in the closed loops of control being carried out by the composite controller and manager. But the main circular flow – the one that represents the main controlling done by H. Economicus-- is the circular flow in the composite controller loop.

By the way, after my reply to Gavin I realized tha the reserve requirement cannot be a source of leakage; all deposits in banks, including the reserve amount, is recirculated as loans. So the only real sources of leakage I can think of are bankruptcies and defaults. And I assume that both of these increase as the amount of money on deposit (in savings) increases since the banks want to make more loans and will probably take more risk to get that money loaned out. This is just a guess; the way to test it is to look at the data relating aggregate saving rate to bankruptcy and default rates. I’ll try to find that data.

Best

Rick

···


Richard S. Marken PhD
rsmarken@gmail.com
www.mindreadings.com

[From Shannon Williams (2011.07.21.0100 CST)]

[From Rick Marken (2011.07.20.2200)]

There are two circular flows, in the closed loops of control being carried
out� by the composite controller and manager. But the main circular flow --
the one that represents the main controlling done by H. Economicus-- is the
circular flow in the composite controller loop.

Hi Rick,

Do you mind resending the diagram with the circular flow of money
highlighted in another color? And/or could you just walk me through
it?

Thanks,
Shannon

https://donate.barackobama.com/page/outreach/view/2012/openthespillways

[From Rick Marken (2011.07.21.1650)]

Shannon Williams (2011.07.21.0100 CST)–

Hi Rick,

Do you mind resending the diagram with the circular flow of money

highlighted in another color? And/or could you just walk me through

it?

The circular flow is not obvious in my flow chart – and I also noticed some fundamental mistakes that I have to fix in the model (for example, the Composite Controller should be controlling Q rather than P’Q; people control for stuff (Q) and money (P’Q) separately) so I have attached the diagram of the circular flow that is found in TC Powers’ book “Leakage”. My model was an attempt to provide a mechanism that implements the process shown in the attached figure.

The figure shows a composite producer producing goods and services and paying for this production in wages and profit (W + K). Wages and profit go into the hands of the composite consumer which uses this money to purchase the goods and services it produced in the role of composite producer. Leakage is any difference between the W+K that is paid for production and the W + K that is received as payment for consumption.

Note that all (or most ) individuals in an economy are both producers and consumers, but at the individual level these roles are carried out sequentially; I go to work, get paid and then go shopping and then go to work again. At the aggregate (composite) level, however, we can see that, production and consumption are going on simultaneously at any instant; while some work others shop. The circular flow in the attached graph should be understood in this way; as in a control loop, variables in the loop are not changing sequentially (produce–> get paid–> consume–> produce); rather all variables are changing simultaneously. My spreadsheet model is just a dynamic simulation of this process using control loop. My model assumes that the economy is driven by people’s references (Gavin’s non-existent wants and needs) for “stuff” (Q); they collectively produce this stuff as best as they can and consume it in order to satisfy their references. It’s all control.

Best

Rick

···


Richard S. Marken PhD
rsmarken@gmail.com
www.mindreadings.com

[Shannon Williams (2011.07.23.0800 CST)]

[From Rick Marken (2011.07.21.1650)]

I have attached the diagram of
the circular flow that is found in TC Powers' book "Leakage". My model was
an attempt to provide a mechanism that implements the process shown in the
attached figure.

Thank you Rick. It seems to me that k2 should empty into a little
pool. And that to represent repayment of a loan (the part not due to
interest), The composite producer should return money directly to that
pool. It does not go *through* the composite consumer. It returns
directly to the savings pool. What do you think?

Shannon
https://donate.barackobama.com/page/outreach/view/2012/openthespillways

[From Rick Marken (2011.07.25.1130)]

Shannon Williams (2011.07.23.0800 CST)–

RM: I have attached the diagram of

the circular flow that is found in TC Powers’ book “Leakage”. My model was

an attempt to provide a mechanism that implements the process shown in the

attached figure.

Thank you Rick. It seems to me that k2 should empty into a little

pool. And that to represent repayment of a loan (the part not due to

interest), The composite producer should return money directly to that

pool. It does not go through the composite consumer. It returns

directly to the savings pool. What do you think?

Yes, I think that is a good idea. If a large part of leakage is the reserve requirement then it is money that’s in a pool, so to speak, that will be returned to the economy – and strengthen it – as income inequality goes down. I think this is what happened after the crash of 1929. The attached wealth disparity graph shows that this. It also shows that after being fairly stable from 1933-1980, inequality again rose to egregious levels. The chart ends in 2007 so it’s not clear whether the recession brought inequality down a bit. But my impression is that this time it did not. Which is why we will probably not see a recovery to a robust economy in the US any time soon.

Best

Rick

···


Richard S. Marken PhD
rsmarken@gmail.com
www.mindreadings.com

[Shannon Williams (2011.07.26.0730 CST)]

[From Rick Marken (2011.07.25.1130)]

Thank you Rick. � It seems to me that k2 should empty into a little
pool. �And that to represent repayment of a loan (the part not due to
interest), The composite producer should return money directly to that
pool. It does not go *through* the composite consumer. �It returns
directly to the savings pool. �What do you think?

Yes, I think that is a good idea.� If a large part of leakage is the reserve
requirement then it is money that's in a pool, so to speak, that will be
returned to the economy� -- and strengthen it -- as income inequality goes
down.

Cool. Below is an article which describes a (conservative's) wordy
description of the flows of money right now. I believe that the
simple producer/consumer diagram (with the savings model added)
accounts for all of the nouns thrown around in the description. It
also shows that Bernanke is correct because although people (who have
so much savings that the interest is considered disposable income) are
not now getting this 'disposable' income from their savings accounts
and so are not spending it, the money is still going to the aggregate
consumer and it is still being spent.

Thanks,
Shannon
https://donate.barackobama.com/page/outreach/view/2012/openthespillways

The Steep Costs of Easy Money
by Jim McTague
Monday, July 25, 2011
provided by

The Fed's loose monetary policies have delivered a body blow to
savers�and to the economy.

Aesop and his ants had it all wrong: The advantage belongs to the grasshoppers.
A new study by two economists at the nonpartisan American Institute
for Economic Research concludes that Federal Reserve Board Chairman
Ben Bernanke's crisis management has kept interest rates so low for so
long that it has deprived savers of hundreds of billions of dollars in
interest income. That, in turn, has cost the economy $256 billion to
$587 billion in consumption and 2.4 million to 4.6 million jobs, but
has shaved between 1.75 and 3.32 percentage points to
gross-domestic-product growth.

The beneficiaries of the Fed's policies have been borrowers. In other
words, people employing record-inexpensive leverage&mdashthe
grasshoppers among us&mdashhave been thriving, while the fortunes of
the prudent, savings-minded ants have been wilting.

Bernanke, defending his policies, has cited a study by the central
bank's own economists that concluded the Fed's policy of easy money
and huge asset purchases prevented a ruinous bout of deflation, and
will have contributed to the addition of three million jobs to the
economy by 2012. Minus the Fed's actions, there would have been 1.8
million fewer jobs, the study claims. Bernanke cited the Fed study in
a footnote to the semiannual Monetary Policy Report to the Congress,
which he delivered July 13 to the House Committee on Financial
Services.

Like the American Institute's study, the Fed paper admits that savers
paid a price. But if you read between the lines, the Fed paper is
arguing that its actions significantly boosted the fortunes of people
who own stocks, are inclined to borrow for business, own homes and
purchase cars and major appliances&mdashsupposedly, most U.S.
households. While the Fed study doesn't claim that Bernanke's policies
constituted a magic bullet, it argues that any standard macroeconomic
model would show that the easy money and the asset purchases created a
net positive effect on spending.

"The Fed paper argues that it impacted the economy positively through
three main channels," says Polina Vlasenko, who co-authored the
American Institute paper with fellow economist William Ford.

First, the Fed notes, it has kept rates low to stimulate borrowing;
second, it has created a wealth effect by encouraging savers to move
money from certificates of deposit and low-yielding bonds into riskier
assets like equities. Third, it depressed the value of the dollar,
stimulating export growth. All of these channels worked to some
extent, says Vlasenko, who discussed the research with me by phone
last week. "What we say is that there is another channel affecting the
economy, which is that as you keep rates low for a very long time, you
deprive those who save of their interest income."

Looking at Treasury yields on the first anniversary of nine
business-cycle expansions and comparing them to yields as of June
2010, Ford and Vlasenko found last year's were five percentage points
lower than normal. Each percentage point in lost yield cost $52
billion in consumption, they calculated, assuming $9.9 trillion in
interest-rate-sensitive assets. Total lost interest was $99 billion;
subtracting 25% for taxes left $74 billion. The analysts assume that
70% of that would have been spent on consumption. If the holdings of
life-insurance companies and private pension funds are added,
interest-sensitive assets balloon to $18.8 trillion and consequent
consumption losses rise to $587 billion.

One reason the Fed's actions might not be boosting jobs growth,
Vlasenko says, is that borrowing is off, as banks and individuals have
become considerably more cautious. "They don't want a repeat of what
just happened," she adds. Her analysis of the Fed's flow-of-funds data
indicates that there hasn't been a significant shift of money from
bonds and certificates of deposit into stocks. The Fed would argue
that inflows into bonds are a positive consequence of its action.

Vlasenko says that savings accounts during the most recent quarter
have grown slightly from the second quarter of 2010. Money-market
holdings were higher; investments in corporate bonds and Treasuries
were about the same, and municipal-bond holdings were up.

Money continues to leave equity mutual funds, contradicting the Fed's
assertion. Some of the reluctance to dive into equities might be due
to perceptions that the market is richly valued. Continued risk
aversion most likely is part of the reason too, says Vlasenko.

It is impossible to know where interest rates and the economy would
have been absent the Fed's $2 trillion of asset purchases, known as
quantitative easing. But the research institute's paper assumes that
the lower the rates, the larger the negative impact on consumption.

Back in 2008 and '09, the risk premium demanded by skittish investors
pushed bond spreads to very high levels, and the absence of liquidity
froze the asset-backed market. The Fed's easing was the lubricant that
started the wheels turning again. Whether the Fed should now reverse
course and begin to reward savers is a debate worth having. The
research group's paper is an excellent place to start.